Главная / Продукция /
Подшипники роликовые радиальные игольчатые
/ Подшипники роликовые игольчатые с наружным кольцом со сквозным отверстием без сепаратора (94Х/ХХ)
Подшипники роликовые игольчатые с наружным кольцом со сквозным отверстием без сепаратора (94Х/ХХ)

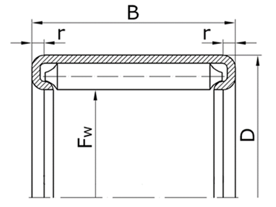
| Обозначение | Размеры | Масса (кг) | ||||
|---|---|---|---|---|---|---|
| По ГОСТу | Международное | D | B | r | Fw | |
| 941/6 | - | 10 | 7 | 0.8 | 6 | - |
| 941/7 | - | 12 | 8 | 1 | 7 | - |
| 941/10 | - | 16 | 10 | 1.2 | 10 | - |
| 941/12 | - | 17 | 12 | 1.2 | 12 | - |
| 941/15 | - | 20 | 12 | 1.2 | 15 | - |
| 941/17 | - | 23 | 14 | 1.2 | 17 | - |
| 941/20 | - | 26 | 14 | 1.2 | 20 | - |
| 941/25 | - | 32 | 16 | 1.2 | 25 | - |
| 941/30 | - | 38 | 16 | 1.5 | 30 | - |
| 942/8 | - | 14 | 12 | 1.2 | 8 | - |
| 942/15 | - | 20 | 16 | 1.2 | 15 | - |
| 942/20 | HN2020 | 26 | 20 | 1.2 | 20 | 0.03 |
| 942/25 | - | 32 | 22 | 1.2 | 25 | - |
| 942/30 | - | 38 | 24 | 1.5 | 30 | - |
| 942/32 | - | 40 | 24 | 1.5 | 32 | - |
| 942/35 | - | 43 | 25 | 1.5 | 35 | - |
| 942/40 | - | 50 | 32 | 2 | 40 | - |
| 943/10 | - | 16 | 17 | 1.2 | 10 | - |
| 943/20 | - | 26 | 25 | 1.2 | 20 | - |
| 943/25 | - | 32 | 25 | 1.2 | 25 | - |
| 943/30 | - | 38 | 32 | 1.5 | 30 | - |
| 943/35 | - | 43 | 32 | 1.5 | 35 | - |
| 943/40 | - | 50 | 38 | 2 | 40 | - |
| 943/45 | - | 55 | 38 | 2 | 45 | - |
| 943/50 | - | 60 | 38 | 2 | 50 | - |